找回密码
 立即注册
澳门威尼斯人
U8
U18
海燕招商
A
蓝盾
e世博
islot.
申博亚洲
澳门银河
B
腾博会
德信
C级广告商
吉祥坊
查看: 106763|回复: 58

[彩票] 【实战有奖】今天在申博7V玩彩票也是输了水钱

[复制链接]

1214

主题

3万

回帖

1355

金币

铂金用户

积分
96072

老会员交易勋章光影行者

发表于 2025-5-22 21:37 | 显示全部楼层 |阅读模式

马上注册,结交更多好友,享用更多功能,让你轻松玩转社区。

您需要 登录 才可以下载或查看,没有账号?立即注册

×
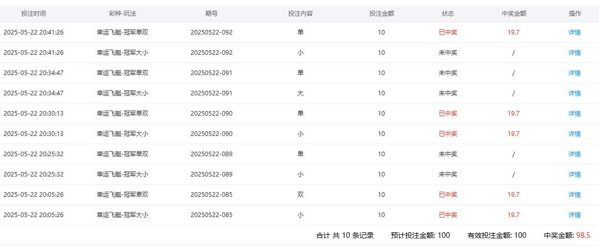
     今天到了申博去玩了彩票了啊。运气还是很不错的啊。最后的结果也是没有苏了啊。虽然亏了1块多,但是还是感觉好的啊。只是输了水钱罢了啊。只要胜率不低于50,应该说都是可以接受的啊,即便低了,损失不大也是要接受了啊。( f/ e5 V# D' \* e2 E- X3 _& P6 G  t
      今天去了幸运飞艇这个游戏了啊。第一期我是投注了小和双的啊,结果是两红了啊。实在是比较爽了 啊。一下子就赢了20了啊。实在是美滋滋的啊。心情都一下子愉快起来啊。第二期呢,我打了小和单了啊。从时间上看隔了几期了啊。那是因为当时有事,就走开了啊。过了20分钟,我才又回来继续玩了啊。
  d( Z& {! _. C3 S/ B+ R      第二期,我是没有中奖的啊。遇到了2黑了 了。两个方向都没有猜对。实在遗憾了的。这样两期下来,我是一点好处都没有得到了。我的盈利就没有了。
$ k) U/ I' m* s3 v. r     第3期,我买了小和单了啊。结果也是比较幸运的啊,两个都中了啊。一下子我就又赢了20了啊。也是非常的开心的啊。只要是可以赢,都是满意的啊。
4 y9 E% Q% z" t5 I. k' Z     第4期,我看了一下路子,买了大和单了。结果开出来,我没有看准了啊。2黑了啊。一下子就又输了回去了啊。4期下来,我是一点好处都没有得到,甜头是根本没有了啊。实在是遗憾的啊。4 K  Z' z4 K8 Y
    第5期了。我又去买了小和单,结果呢,出了大和单了啊。我的投注还是一红一黑了啊。这样子,我5期下来,就取得了一个打成平手的结果了。只是亏 一点水钱而已,输了一瓶矿泉水而已了。应该说还是比较幸运的啊。所以,没有什么不满了 。我就撤退了啊。; c  p5 F% y& Y) C0 n% F3 F7 k
11.JPG 22.JPG
! ~4 }1 a& Q- s- Y1 w/ F) y# B- m4 K% m, C2 L; a
; {: W; r4 c0 V9 z& w0 }% Z
' ^" t% T( n8 k2 q
1 F4 ~( W+ X4 U& ]+ G) R9 X; K
回复

使用道具 举报

102

主题

6390

回帖

2606

金币

金牌会员

积分
20822

老会员

发表于 2025-5-22 21:43 | 显示全部楼层
楼主的成绩不理想早一点止损是正确的,亏损一点可以不记
回复 支持 反对

使用道具 举报

16

主题

1668

回帖

1984

金币

铜牌用户

积分
7791

老会员

发表于 2025-5-22 22:26 | 显示全部楼层
一瓶矿泉水的代价玩了五期,体验拉满了,起起伏伏才是生活的调味剂啊!
回复 支持 反对

使用道具 举报

698

主题

8248

回帖

4818

金币

金牌会员

积分
26197

老会员交易勋章

发表于 2025-5-22 22:36 | 显示全部楼层
你的持之以恒让我感动,很感人,还是祝你下一波能盈利吧,坚持玩彩票不容易
回复 支持 反对

使用道具 举报

232

主题

1万

回帖

3969

金币

千足金牌会员

积分
48782

老会员

发表于 2025-5-22 23:28 | 显示全部楼层
楼主的彩票玩的算不错的,运气不佳的情况下,只有亏损水钱。
回复 支持 反对

使用道具 举报

278

主题

1万

回帖

4452

金币

金牌会员

积分
34776

老会员光影行者

发表于 2025-5-23 05:24 | 显示全部楼层
如果总是在输钱,就不要玩了,希望以后都能够有个好的结果了。
回复 支持 反对

使用道具 举报

1214

主题

3万

回帖

1355

金币

铂金用户

积分
96072

老会员交易勋章光影行者

 楼主| 发表于 2025-5-23 05:40 | 显示全部楼层
易天一人 发表于 2025-5-22 21:43
3 A5 H" f% g1 U0 @6 b/ {$ x楼主的成绩不理想早一点止损是正确的,亏损一点可以不记
2 y3 z- E4 B  p- S
的确是如此的了,损失不大的话都没什么关系的了,还是要加油的
回复 支持 反对

使用道具 举报

1214

主题

3万

回帖

1355

金币

铂金用户

积分
96072

老会员交易勋章光影行者

 楼主| 发表于 2025-5-23 05:40 | 显示全部楼层
没牙的兔子 发表于 2025-5-23 05:24
8 \7 p) }$ ^& c如果总是在输钱,就不要玩了,希望以后都能够有个好的结果了。
' B$ s% X6 w% D8 |% S
不可能总是在说的,我们还是要努力的把失去的拿回来了
回复 支持 反对

使用道具 举报

1214

主题

3万

回帖

1355

金币

铂金用户

积分
96072

老会员交易勋章光影行者

 楼主| 发表于 2025-5-23 05:40 | 显示全部楼层
展现出 发表于 2025-5-22 22:365 y7 Z$ o- `' J8 O: n' O$ d
你的持之以恒让我感动,很感人,还是祝你下一波能盈利吧,坚持玩彩票不容易 ...
' A/ t- C+ j# e7 `
持之以恒也是有必要的啦,我们一定要好好的努力加油的啦
回复 支持 反对

使用道具 举报

1664

主题

8万

回帖

1万

金币

海燕硕士

积分
251241

万时之王老会员精华勋章勤奋勋章交易勋章光影行者

发表于 2025-5-23 06:07 | 显示全部楼层
小输一点水钱是可以忽略不计的,相信楼主下一次是可以盈利的
回复 支持 反对

使用道具 举报

1664

主题

8万

回帖

1万

金币

海燕硕士

积分
251241

万时之王老会员精华勋章勤奋勋章交易勋章光影行者

发表于 2025-5-23 06:07 | 显示全部楼层
hy188820 发表于 2025-5-22 23:28
: V, W1 J0 a. q* e6 [楼主的彩票玩的算不错的,运气不佳的情况下,只有亏损水钱。
  a% I. g4 [" m- V( c
楼主是个玩彩票的高手,这一次小输一点没有什么影响的
回复 支持 反对

使用道具 举报

1664

主题

8万

回帖

1万

金币

海燕硕士

积分
251241

万时之王老会员精华勋章勤奋勋章交易勋章光影行者

发表于 2025-5-23 06:08 | 显示全部楼层
没牙的兔子 发表于 2025-5-23 05:24
4 r4 B0 {$ L  D, J: n* T8 Q/ i2 T如果总是在输钱,就不要玩了,希望以后都能够有个好的结果了。

0 S- @. ]0 p2 \" E1 d这个时候还是要选择休息一下的,这样就可以减少损失了
回复 支持 反对

使用道具 举报

63

主题

4万

回帖

2919

金币

钻石用户

积分
129347

万时之王老会员勤奋勋章交易勋章光影行者

发表于 2025-5-23 06:20 | 显示全部楼层
一点点水钱也是很无奈了,这个真的是没有办法了,难搞的啦, 郁闷的了!
回复 支持 反对

使用道具 举报

63

主题

4万

回帖

2919

金币

钻石用户

积分
129347

万时之王老会员勤奋勋章交易勋章光影行者

发表于 2025-5-23 06:20 | 显示全部楼层
cwx1994 发表于 2025-5-23 06:08
- P+ }6 Z2 A/ E* l这个时候还是要选择休息一下的,这样就可以减少损失了
: ^/ `5 Z8 |6 p, D5 Z6 S
必须了,反正自己把握,合理的安排也是很关键了,不能乱来啊,都是自己的辛苦钱的!
回复 支持 反对

使用道具 举报

63

主题

4万

回帖

2919

金币

钻石用户

积分
129347

万时之王老会员勤奋勋章交易勋章光影行者

发表于 2025-5-23 06:21 | 显示全部楼层
猴哥打野 发表于 2025-5-23 05:40
# W7 Q& A# I. I' _( _# I持之以恒也是有必要的啦,我们一定要好好的努力加油的啦

' p% w- B2 W! F# R0 v2 ?$ g确实是很有道理,但是很多时候做不到了,这个也是一个问题的呢,淡定吧!
回复 支持 反对

使用道具 举报

您需要登录后才可以回帖 登录 | 立即注册

本版积分规则

广告合作|福利汇|论坛简介|钱包教程|手机版|小黑屋|Archiver|海燕论坛

快速回复 返回顶部 返回列表