找回密码
 立即注册
澳门威尼斯人
U8
U18
海燕招商
A
蓝盾
e世博
islot.
申博亚洲
澳门银河
B
开云
腾博会
德信
C级广告商
吉祥坊
华体会
查看: 26235|回复: 74

[彩票] 【实战有奖】威尼斯人台湾宾果连挂后稳收,亏损2450止步

[复制链接]

88

主题

2万

回帖

6275

金币

铂金用户

积分
77302

老会员交易勋章魅力达人

发表于 2025-10-6 16:17 | 显示全部楼层 |阅读模式

马上注册,结交更多好友,享用更多功能,让你轻松玩转社区。

您需要 登录 才可以下载或查看,没有账号?立即注册

×
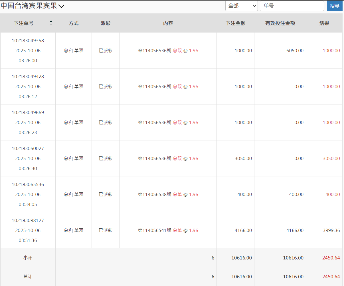
今天下午打了台湾宾果这一轮,整体过程挺曲折,但也算控制住了节奏。大概从下午三点左右开始进场,当时看走势总和“双”连开几期,手痒了,于是轻仓试单。原本打算随便玩玩,结果越看越不对劲,单双频繁切换,让人有点摸不清节奏。% f8 e0 r  a, E
& @) ]- B8 T, n" f# k- S
这轮总共下了六单,前几把基本都在试探走势。结果连续几期都反着来,尤其是那笔3050的“总双”,被直接吃掉,账面一口气红到三千多。那一瞬间心态确实有点晃,手差点又去补仓。后来想到之前吃亏的经验,强行让自己停手,看完那期结果就去洗了个脸。
4 {& X8 E% u+ n4 v$ q* X3 A
" o4 ]2 ]. C! q) _回来后重新看走势图,发现节奏有点回稳,于是再上两把“总单”试水。最后一单我加到4166,打的第114056541期,终于中回来了3999.36,这口气算是稳了。整盘下来,亏了2450左右,折合人民币不到两千。
4 F( N+ j* G% Y: Z" z8 q/ S, d+ ?' b! h6 T; G
账面上虽然是负的,但我个人觉得这轮打得比前几次更“成熟”——不是赢多少的问题,而是我终于没再乱追。这次BBIN那边转入了10616,转出回大厅时剩8165,虽然账面亏损,但过程有节制、心态稳,算是一次小考合格。" b7 ]3 U( P7 F/ c$ s
/ D  S8 p% @( T$ |; D5 ?, k
过去我常常一看挂单就想加码“赢回来”,结果反而输更惨。现在我学会了一件事:赢钱靠机会,止损靠自律。只要不被情绪带走,长期来看反而能少损多赢。
5 Q2 n3 R% ^$ l! L; J9 W6 n1 q& L8 S8 J0 l4 d0 Z: G+ o* e
另外,这轮台湾宾果的走势挺诡异的,总和单双跳得快,没有出现连续7期以上的连号。下午那段时间尤其乱,建议后面玩这盘口的兄弟们注意节奏,不要被短线结果误导。可以像我这样——前几期用小注探路,等走势方向稳定后再加码。, B/ A9 D$ e4 h5 k7 X9 a' z  R; }

6 _7 }  Q, g5 M  N' ~7 p9 l4 E这次我还特地看了下注明细,总金额10616,有效投注全打满,亏损-2450.64。虽然是红的,但我反而挺高兴,因为这说明我守住了底线:没追加、没爆仓。
, K* c3 q2 b' U/ }3 K, u
3 J+ x, P# R+ O$ o最后总结一句:
  b( H, L( ^" L9 P9 c. E6 ^输钱不可怕,乱输才可怕;稳得住,才是真正的赢。
" V+ I. M: n0 `) Q" v$ R* n
3 \0 \) V. \- b& j. ~' `% j- m这两天论坛不少人也在分享台湾盘的节奏,我的经验是——宁可打慢,也不要乱节奏。未来几天我会继续观察走势,等连号或规律性区间出来,再考虑加仓。今天就到这,休息一会,晚上再看情况。2 ]8 f& k1 `& I& Q- E

# d1 O+ X+ d' z% x( B! [; W QQ20251006-160203.png QQ20251006-160102.png , F& d$ Z; j2 Q3 L- w. X2 R# E
) l, j5 X/ q7 X

  p6 F$ t0 \: C
回复

使用道具 举报

1

主题

4994

回帖

4198

金币

金牌会员

积分
23389

老会员

发表于 2025-10-6 16:22 | 显示全部楼层
楼主亏损了还是要止损,回血了一大半还是挺不错了
回复 支持 反对

使用道具 举报

197

主题

6859

回帖

148

金币

银牌会员

积分
13995

老会员交易勋章

发表于 2025-10-6 17:56 | 显示全部楼层
你还玩这个啊,我是真没玩过这类彩票,是彩票没错吧,止损做到位就好
回复 支持 反对

使用道具 举报

7

主题

2万

回帖

1万

金币

铂金用户

积分
78690

光影行者

发表于 2025-10-6 19:37 | 显示全部楼层
3050那把真够呛,能忍住不补仓已经赢一半,节奏乱时洗脸是个好招
回复 支持 反对

使用道具 举报

3400

主题

4万

回帖

4124

金币

钻石用户

积分
116729

万时之王老会员勤奋勋章交易勋章

发表于 2025-10-6 19:48 | 显示全部楼层
老哥还是低调点吧, 亏损2450, 也是输太多了, 还是要及时收手,真不敢继续了
回复 支持 反对

使用道具 举报

3400

主题

4万

回帖

4124

金币

钻石用户

积分
116729

万时之王老会员勤奋勋章交易勋章

发表于 2025-10-6 19:49 | 显示全部楼层
蔬菜沙拉 发表于 2025-10-6 19:373 n0 W2 d8 {* o8 Y) F6 f
3050那把真够呛,能忍住不补仓已经赢一半,节奏乱时洗脸是个好招
0 T/ a8 o5 ~/ g0 ^! c" H3 E6 o% r
玩菠菜还是量力而行吧, 别玩太大了, 输太多了, 也是很影响心情了。
回复 支持 反对

使用道具 举报

3400

主题

4万

回帖

4124

金币

钻石用户

积分
116729

万时之王老会员勤奋勋章交易勋章

发表于 2025-10-6 19:49 | 显示全部楼层
二电厂哥 发表于 2025-10-6 17:561 Z9 w8 @6 \! Y/ h1 N* O: D, @
你还玩这个啊,我是真没玩过这类彩票,是彩票没错吧,止损做到位就好

+ S0 S; @4 Y$ s% x. u# ]% y亏损了2450也是输太多了, 这钱能干很多事的了啊, 也是很遗憾了。
回复 支持 反对

使用道具 举报

3400

主题

4万

回帖

4124

金币

钻石用户

积分
116729

万时之王老会员勤奋勋章交易勋章

发表于 2025-10-6 19:50 | 显示全部楼层
shunlifeiup 发表于 2025-10-6 16:22
7 C1 t2 A! K6 @: O' i楼主亏损了还是要止损,回血了一大半还是挺不错了

" S8 U6 Z# h9 d, k, X8 a损失惨重了呀, 输了这么多, 想回血都是很困难了啊, 还是休息冷静一下吧。
回复 支持 反对

使用道具 举报

377

主题

1561

回帖

2521

金币

铜牌用户

积分
9272

老会员交易勋章

发表于 2025-10-6 21:07 | 显示全部楼层
能够及时做到止损啊 还是很不容易的   及时调整吧!
回复 支持 反对

使用道具 举报

52

主题

2万

回帖

5639

金币

铂金用户

积分
78755

老会员光影行者

发表于 2025-10-7 02:34 | 显示全部楼层
别急着追,理性把握,稳住节奏,总会有赚钱的时候,节制至关重要
回复 支持 反对

使用道具 举报

52

主题

2万

回帖

5639

金币

铂金用户

积分
78755

老会员光影行者

发表于 2025-10-7 02:34 | 显示全部楼层
蔬菜沙拉 发表于 2025-10-6 19:37! v/ C$ B; B) ?! b& N$ t3 J
3050那把真够呛,能忍住不补仓已经赢一半,节奏乱时洗脸是个好招
* v- e# R- z5 G: h' O" o5 y: H$ A3 Q
3050那把确实有点狼狈,不过威尼斯人台湾宾果稳住节奏,亏损2450也算是及时止损
回复 支持 反对

使用道具 举报

2430

主题

8万

回帖

4975

金币

海燕硕士

积分
223218

老会员超级精华精华勋章美女勋章勤奋勋章交易勋章万时之王

发表于 2025-10-7 05:46 | 显示全部楼层
输掉了2000多块能够止损离开也是比较理智的一个人吧
回复 支持 反对

使用道具 举报

2430

主题

8万

回帖

4975

金币

海燕硕士

积分
223218

老会员超级精华精华勋章美女勋章勤奋勋章交易勋章万时之王

发表于 2025-10-7 05:46 | 显示全部楼层
whywhy 发表于 2025-10-7 02:34
# r* j. a3 D/ n* o/ P8 H/ R1 K3050那把确实有点狼狈,不过威尼斯人台湾宾果稳住节奏,亏损2450也算是及时止损 ...
1 M2 ?) V9 f, |* c0 M! a$ ^
反正自己的节奏要把握好,不然输的就是自己的钱
回复 支持 反对

使用道具 举报

2430

主题

8万

回帖

4975

金币

海燕硕士

积分
223218

老会员超级精华精华勋章美女勋章勤奋勋章交易勋章万时之王

发表于 2025-10-7 05:46 | 显示全部楼层
whywhy 发表于 2025-10-7 02:34, [( s: Z3 G; Z& t
别急着追,理性把握,稳住节奏,总会有赚钱的时候,节制至关重要

) K8 T0 U( n1 ~  b  g这个节奏导致的亏损也是没有办法的事,毕竟输了这么多
回复 支持 反对

使用道具 举报

2430

主题

8万

回帖

4975

金币

海燕硕士

积分
223218

老会员超级精华精华勋章美女勋章勤奋勋章交易勋章万时之王

发表于 2025-10-7 05:46 | 显示全部楼层
莫扎特06 发表于 2025-10-6 19:49& n( S" i, j7 x+ N. z& t
亏损了2450也是输太多了, 这钱能干很多事的了啊, 也是很遗憾了。
8 v0 k# m7 w/ \2 `- w
输的太多也是要想办法把它搞回来,不然也是难受
回复 支持 反对

使用道具 举报

您需要登录后才可以回帖 登录 | 立即注册

本版积分规则

广告合作|福利汇|论坛简介|钱包教程|手机版|小黑屋|Archiver|海燕论坛

快速回复 返回顶部 返回列表