找回密码
 立即注册
澳门威尼斯人
U8
U18
海燕招商
A
蓝盾
e世博
islot.
申博亚洲
澳门银河
B
腾博会
德信
C级广告商
吉祥坊
查看: 8|回复: 0

[彩票] 彩票游戏坚持策略打法收米机会很大些

[复制链接]

76

主题

2787

回帖

743

金币

铜牌用户

积分
8606

老会员

发表于 2026-4-18 13:20 | 显示全部楼层 |阅读模式

马上注册,结交更多好友,享用更多功能,让你轻松玩转社区。

您需要 登录 才可以下载或查看,没有账号?立即注册

×
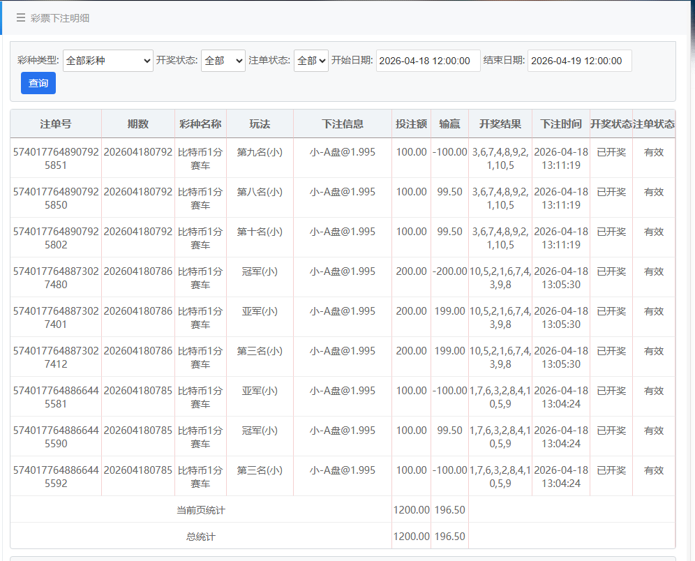
更多玩彩票的时候,都是要坚持每天的打法,这样才能有机会进一步去突破。中午运气不错的,三定位两面玩法,赢下190多块钱。
! X% S' n- c  v, {. ?. h3 J- ~% w
) U( L9 J3 S$ {
, ]- \$ h: f  d  z) f8 k* h. U 2.jpg
) c* n" }0 ?+ u( t0 O2 k% x6 Q$ z& @ 1.jpg - h+ V9 X/ m% r

评分

参与人数 1金币 +6 收起 理由
海燕RG + 6 实战分享

查看全部评分

回复

使用道具 举报

您需要登录后才可以回帖 登录 | 立即注册

本版积分规则

广告合作|福利汇|论坛简介|钱包教程|手机版|小黑屋|Archiver|海燕论坛

快速回复 返回顶部 返回列表