找回密码
 立即注册
澳门威尼斯人
U8
U18
海燕招商
A
蓝盾
e世博
islot.
申博亚洲
澳门银河
B
开云
腾博会
德信
C级广告商
吉祥坊
华体会
查看: 190751|回复: 47

[彩票] 【实战有奖】USDT casino下注新加坡六合彩

[复制链接]

197

主题

6859

回帖

148

金币

银牌会员

积分
13995

老会员交易勋章

发表于 2024-6-22 19:03 | 显示全部楼层 |阅读模式

马上注册,结交更多好友,享用更多功能,让你轻松玩转社区。

您需要 登录 才可以下载或查看,没有账号?立即注册

×
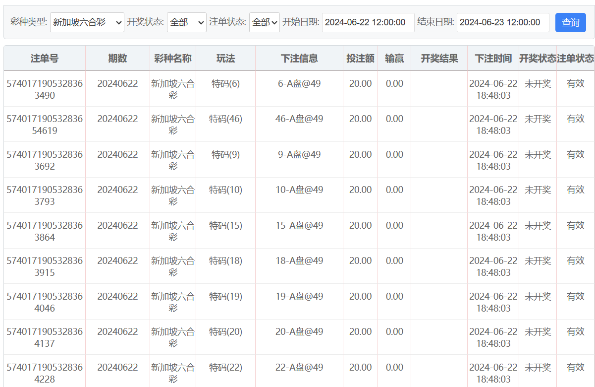
今天登录USDT CASINO准备下注体育赛事的,看到一笔彩金可以领取的一共1288USDT.想象完全是可以去试试新加坡六合彩的投注,这款彩票的赔率真是非常高的,特码直接给49倍数满倍,一共下注20注合计400USDT,希望晚上可以顺利中奖成功的。
6 S  Y3 g  p" U* E( n+ j1 x7 e! |# e! Q  m& H# L0 o, X
! M' M$ w8 E9 o
4.png 1.png 3.png 3.png
: e% Q% m: c8 y3 |
回复

使用道具 举报

头像被屏蔽

102

主题

9137

回帖

2659

金币

禁止发言

积分
23011

老会员美女勋章

发表于 2024-6-22 19:16 | 显示全部楼层
提示: 作者被禁止或删除 内容自动屏蔽
回复 支持 反对

使用道具 举报

1214

主题

3万

回帖

506

金币

铂金用户

积分
93108

老会员交易勋章光影行者

发表于 2024-6-22 19:30 | 显示全部楼层
才下注20个数字,概率还是不到五十的啊,希望你可以顺利收米了啊
回复 支持 反对

使用道具 举报

1214

主题

3万

回帖

506

金币

铂金用户

积分
93108

老会员交易勋章光影行者

发表于 2024-6-22 19:30 | 显示全部楼层
尔不耳不斤 发表于 2024-6-22 19:16. S% s" u8 l3 |; R2 C4 _" y. r/ v
新加坡六合彩能中个大奖看楼主运气了,这投的可是不小啊

* ^2 y! `+ _- V: m6 l- |3 U  N! C下注多了风险也就大嘞,希望楼主的实力足够强了啊
回复 支持 反对

使用道具 举报

197

主题

6859

回帖

148

金币

银牌会员

积分
13995

老会员交易勋章

 楼主| 发表于 2024-6-22 19:49 | 显示全部楼层
尔不耳不斤 发表于 2024-6-22 19:162 ^) n* F$ h5 K0 G5 B: }: b
新加坡六合彩能中个大奖看楼主运气了,这投的可是不小啊

5 |9 o$ r6 @. j* T% T谢谢燕友们的祝福,要是中奖的话,晚上的宵夜肯定很丰富,美滋滋
回复 支持 反对

使用道具 举报

197

主题

6859

回帖

148

金币

银牌会员

积分
13995

老会员交易勋章

 楼主| 发表于 2024-6-22 19:50 | 显示全部楼层
猴哥打野 发表于 2024-6-22 19:30
, {0 q/ ~, Z$ P+ L才下注20个数字,概率还是不到五十的啊,希望你可以顺利收米了啊
% q. F. I, |, t7 Q- L4 X0 v
这个数量已经很多的了,中奖的话可以盈利580USDT
回复 支持 反对

使用道具 举报

3400

主题

4万

回帖

4125

金币

钻石用户

积分
116731

万时之王老会员勤奋勋章交易勋章

发表于 2024-6-22 19:58 | 显示全部楼层
老哥有魄力呀, 这一下就投注了400U,这可不是个小数了, 那就祝你顺利中奖吧。
回复 支持 反对

使用道具 举报

3400

主题

4万

回帖

4125

金币

钻石用户

积分
116731

万时之王老会员勤奋勋章交易勋章

发表于 2024-6-22 19:59 | 显示全部楼层
尔不耳不斤 发表于 2024-6-22 19:16
# t) _4 z* v# @# L. k+ N: h' A新加坡六合彩能中个大奖看楼主运气了,这投的可是不小啊
* J; M/ H6 m7 v4 r) l
六合彩我也是不会玩的, 我只玩体育比赛, 彩票的话只玩体彩,大乐透, 福彩3D,双色球。
回复 支持 反对

使用道具 举报

0

主题

9812

回帖

4749

金币

金牌会员

积分
31022

老会员

发表于 2024-6-22 20:57 | 显示全部楼层
这个好像都是不那么简单的,希望楼主以后都能有个好的结果了。
回复 支持 反对

使用道具 举报

2618

主题

5万

回帖

6613

金币

钻石用户

积分
176940

万时之王老会员精华勋章勤奋勋章交易勋章

发表于 2024-6-23 01:11 来自手机 | 显示全部楼层
楼主有1288U的彩金,真是太厉害了,看来楼主也是个大户玩家,彩金都这么高
回复 支持 反对

使用道具 举报

2618

主题

5万

回帖

6613

金币

钻石用户

积分
176940

万时之王老会员精华勋章勤奋勋章交易勋章

发表于 2024-6-23 01:13 来自手机 | 显示全部楼层
莫扎特06 发表于 2024-6-22 19:58  K# g3 W5 J; n5 O, F3 o$ n" o
老哥有魄力呀, 这一下就投注了400U,这可不是个小数了, 那就祝你顺利中奖吧。 ...

; O+ t" U* s* H$ n: I楼主也玩新加坡六合彩,不错啊,今晚特码开了兔14,不知楼主中奖没有?我今晚下注六肖中了
回复 支持 反对

使用道具 举报

2618

主题

5万

回帖

6613

金币

钻石用户

积分
176940

万时之王老会员精华勋章勤奋勋章交易勋章

发表于 2024-6-23 01:15 来自手机 | 显示全部楼层
尔不耳不斤 发表于 2024-6-22 19:16
; R9 J0 p8 k, W- @, A新加坡六合彩能中个大奖看楼主运气了,这投的可是不小啊
' t. F" F: ^# \4 E
看楼主下注不小,应该是很有把握的了,六合彩靠经验和运气
回复 支持 反对

使用道具 举报

1575

主题

8万

回帖

2万

金币

海燕硕士

积分
257165

万时之王老会员精华勋章勤奋勋章交易勋章光影行者

发表于 2024-6-23 07:05 | 显示全部楼层
希望楼主的六合彩是可以中奖的吧,毕竟我们都是想要战胜庄家的呢
回复 支持 反对

使用道具 举报

1575

主题

8万

回帖

2万

金币

海燕硕士

积分
257165

万时之王老会员精华勋章勤奋勋章交易勋章光影行者

发表于 2024-6-23 07:05 | 显示全部楼层
浴火凤凰 发表于 2024-6-23 01:150 @3 g' D; `9 f; g
看楼主下注不小,应该是很有把握的了,六合彩靠经验和运气

, V# T4 R4 ?: c3 _) m& C只要有信心了相信是可以中奖的,感觉楼主的运气非常不错的呢
回复 支持 反对

使用道具 举报

2440

主题

8万

回帖

3969

金币

海燕硕士

积分
221910

老会员超级精华精华勋章美女勋章勤奋勋章交易勋章万时之王

发表于 2024-6-23 07:13 | 显示全部楼层
每天下注的话也是希望中奖的呀,这个游戏我是不玩,因为玩不明白
回复 支持 反对

使用道具 举报

您需要登录后才可以回帖 登录 | 立即注册

本版积分规则

广告合作|福利汇|论坛简介|钱包教程|手机版|小黑屋|Archiver|海燕论坛

快速回复 返回顶部 返回列表