找回密码
 立即注册
澳门威尼斯人
U8
U18
海燕招商
A
蓝盾
e世博
islot.
申博亚洲
澳门银河
B
开云
腾博会
德信
C级广告商
吉祥坊
华体会
查看: 176519|回复: 45

[真人] 【实战有奖】今天在申博亚洲平注平稳一下情绪

[复制链接]

1938

主题

3万

回帖

562

金币

铂金用户

积分
93172

万时之王老会员超级精华精华勋章勤奋勋章交易勋章

发表于 2024-9-9 15:29 | 显示全部楼层 |阅读模式

马上注册,结交更多好友,享用更多功能,让你轻松玩转社区。

您需要 登录 才可以下载或查看,没有账号?立即注册

×
美东时间昨天,又是来了波过山车,下午先是输了1000多,然后到傍晚是回本,晚上继续战斗,居然给我反过来赢了1000多,最后睡眠不好,到凌晨四点多还是睡不着,然后就是自己作死,将盈利的1000多全部送回去了还倒贴了将近1000元,好在没有彻底上头,忍住了之后没有再去追数,但自己心态的波动厉害到什么程度,也是自己心知肚明。
2 K) g2 }9 @" W5 n! |; N0 l. k1 K* B

1 l1 U1 o( d0 l7 P. O; c
% E; ]2 x6 n( e- U! w: ]菠菜是孤独的,也是郁闷的,赢了不会与人分享,输了自己独自承受,所以,有时候经常有些不应该的小情绪,控制不好,就是会爆发。我昨天就显然是这种情况,每天小心翼翼,如履薄冰,但总有偶有爆发,一爆发,受伤的就是自己的钱包。; b  N) t& z1 [
% f. n* D- a4 `4 p. j5 V
今天睡了一个上午,午饭后继续睡到现在,然后到申博亚洲存款200,作战bbin百家乐。
/ ^/ W2 c: G4 Y: i$ K* b2 I9 G0 R# `; e+ h) G
最主要的,就是平复自己的心态。
! y$ y" }* s+ \- ?) e8 L4 a7 u
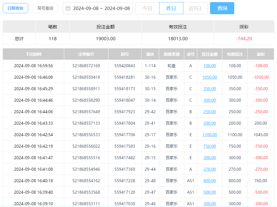
' v$ M9 U5 v$ y( B于是,最小的注码20打平注,这样打了11手,赢6手输5手,也是有十几块钱的利润,于是提款走人。/ v9 d+ B+ O1 l: L6 y
/ B/ L- N. y& Q
QQ20240909-152059.jpg QQ20240909-150700.jpg QQ20240909-150645.jpg " L. w/ h% r. r7 Y6 G$ [# A8 j
( J; c* I3 P( q5 q! Q2 P2 D4 f2 C
4 d+ \1 a# e( L
想想也是可笑,今天凌晨上头的时候,注码打到一千多一手,赢了因为没有达到预期目标,都不收手,然后几手就送回去2000多。现在赢了十几块钱,却乖乖提款了,真是巨大的反差,莫大的讽刺。: o4 C' I) c1 g9 h; z' Z
. j6 f" d" l- G( ^& d* O

% Z+ b/ C" N( `0 Q, |7 X QQ20240909-152532.jpg 7 c% u, |$ t  d7 ]+ {1 m
# Z) y; i4 N3 x4 h, m5 }- g
2 _. O/ @* D$ R7 ]( m
这也许就是,赌狗的无奈......8 u0 s4 h, v! z- [% g) N! x

0 k  Z' Y( m' B
回复

使用道具 举报

252

主题

1万

回帖

1588

金币

金牌会员

积分
31599

老会员

发表于 2024-9-9 15:35 | 显示全部楼层
情绪还是比较关键的,希望楼主能够调整好了,以后多多赢钱的。
回复 支持 反对

使用道具 举报

1938

主题

3万

回帖

562

金币

铂金用户

积分
93172

万时之王老会员超级精华精华勋章勤奋勋章交易勋章

 楼主| 发表于 2024-9-9 18:09 | 显示全部楼层
黑雨衣大盗 发表于 2024-9-9 15:35) F# {# f8 B6 _7 P; L
情绪还是比较关键的,希望楼主能够调整好了,以后多多赢钱的。
6 z" O# L" N; \/ J6 ^
当天第一场 肯定是需要稳定一下情绪 毕竟昨天大起大落了
回复 支持 反对

使用道具 举报

3

主题

2657

回帖

1191

金币

铜牌用户

积分
8564

老会员

发表于 2024-9-9 18:24 | 显示全部楼层
赢了就想继续搏,输了又不甘心,结果往往就是越陷越深。其实你这样及时止损,还能抽身出来,已经算不错了。我现在也在努力调整自己,平注小玩,心态放平,不去追求大起大落,至少能睡个安稳觉。
回复 支持 反对

使用道具 举报

3411

主题

8万

回帖

9624

金币

海燕硕士

积分
236129

万时之王老会员精华勋章勤奋勋章交易勋章光影行者

发表于 2024-9-9 21:09 | 显示全部楼层
其实这样的玩法才会玩得更加的长久啊
回复 支持 反对

使用道具 举报

3411

主题

8万

回帖

9624

金币

海燕硕士

积分
236129

万时之王老会员精华勋章勤奋勋章交易勋章光影行者

发表于 2024-9-9 21:09 | 显示全部楼层
秦皇汉武 发表于 2024-9-9 18:09
1 Y$ G3 G- i* A! n' t6 i当天第一场 肯定是需要稳定一下情绪 毕竟昨天大起大落了
; \3 g- e) _. c( @3 ?$ N
当然玩游戏其实还是最不希望的就是这种大起大落的呀
回复 支持 反对

使用道具 举报

3411

主题

8万

回帖

9624

金币

海燕硕士

积分
236129

万时之王老会员精华勋章勤奋勋章交易勋章光影行者

发表于 2024-9-9 21:09 | 显示全部楼层
黑雨衣大盗 发表于 2024-9-9 15:35
6 J8 Y4 V, \. F+ _5 S情绪还是比较关键的,希望楼主能够调整好了,以后多多赢钱的。
. J; f9 C% b! ^/ U, F: c) o
只要能够情绪稳定了,那么就赚钱还是会比较容易的呢
回复 支持 反对

使用道具 举报

67

主题

8897

回帖

1013

金币

金牌会员

积分
24130

老会员光影行者

发表于 2024-9-9 21:20 | 显示全部楼层
楼主这个运气真让人无语的,连黑那么多次,真是无语了
回复 支持 反对

使用道具 举报

840

主题

2万

回帖

1万

金币

铂金用户

积分
86357

老会员精华勋章魅力达人

发表于 2024-9-9 22:33 来自手机 | 显示全部楼层
我非常理解你这种心情的,作为职赌每天都是要如履薄冰想赚多点利润才有安全感的。但菠菜这行哪有这么容易啊,如果不是天赋过人财力雄厚,要跟庄家长期博弈非常之辛苦的。
回复 支持 反对

使用道具 举报

840

主题

2万

回帖

1万

金币

铂金用户

积分
86357

老会员精华勋章魅力达人

发表于 2024-9-9 22:38 来自手机 | 显示全部楼层
风云变幻 发表于 2024-9-9 18:24
8 p; ]% C. ?" `; j0 D7 D6 J赢了就想继续搏,输了又不甘心,结果往往就是越陷越深。其实你这样及时止损,还能抽身出来,已经算不错了。 ...

9 j* y  e! e: y3 @% x  k道理都懂,但楼主是靠这个来维持生活的,每天的生活支出不小,如果小赌对他来说意义就不大了,所以还是希望他能有份工作这样才能踏实的玩得长久些。
回复 支持 反对

使用道具 举报

840

主题

2万

回帖

1万

金币

铂金用户

积分
86357

老会员精华勋章魅力达人

发表于 2024-9-9 22:40 来自手机 | 显示全部楼层
lantianyun 发表于 2024-9-9 21:09
4 t8 Z% {2 d" m' t& l# [" C其实这样的玩法才会玩得更加的长久啊
4 G1 R& \: J8 \! R- e5 w9 r3 a
我的理念是不比谁赢的多,比的是谁活得久,只有活得久才能看到希望。
回复 支持 反对

使用道具 举报

2618

主题

5万

回帖

6582

金币

钻石用户

积分
176833

万时之王老会员精华勋章勤奋勋章交易勋章

发表于 2024-9-9 23:22 来自手机 | 显示全部楼层
楼主这次以平注来平稳心态,这样也是可以的,先调整好心态
回复 支持 反对

使用道具 举报

2618

主题

5万

回帖

6582

金币

钻石用户

积分
176833

万时之王老会员精华勋章勤奋勋章交易勋章

发表于 2024-9-9 23:26 来自手机 | 显示全部楼层
linx1978 发表于 2024-9-9 22:400 J6 k/ Q; y0 ^$ j0 F
我的理念是不比谁赢的多,比的是谁活得久,只有活得久才能看到希望。

: B4 a) g: |2 L% ?) z& m6 p楼主控制力还是很不错的了,偶尔的上头也是正常的,我偶尔也会有冲动上头的时候
回复 支持 反对

使用道具 举报

2618

主题

5万

回帖

6582

金币

钻石用户

积分
176833

万时之王老会员精华勋章勤奋勋章交易勋章

发表于 2024-9-9 23:27 来自手机 | 显示全部楼层
黑雨衣大盗 发表于 2024-9-9 15:35
& S+ H5 v! C$ y$ D7 p: K2 Q情绪还是比较关键的,希望楼主能够调整好了,以后多多赢钱的。
( |0 K) [- B7 b1 F* L8 T
天天菠菜,情绪想一直保持平稳,也不容易做到的了,希望楼主尽快调整好心态
回复 支持 反对

使用道具 举报

2440

主题

8万

回帖

3729

金币

海燕硕士

积分
221219

老会员超级精华精华勋章美女勋章勤奋勋章交易勋章万时之王

发表于 2024-9-10 06:56 | 显示全部楼层
每天这样的玩也是辛苦的呀,不知道到底是图个什么呀,真的心累的
回复 支持 反对

使用道具 举报

您需要登录后才可以回帖 登录 | 立即注册

本版积分规则

广告合作|福利汇|论坛简介|钱包教程|手机版|小黑屋|Archiver|海燕论坛

快速回复 返回顶部 返回列表